|
. |
|
. |
|
. |
. |
CICLONES
Son separadores
centrífugos. Los ciclones utilizan la inercia para remover las
partículas de la corriente del gas, impartiendo una fuerza
centrífuga a la corriente de gas en una cámara de forma
cónica.
Los ciclones
operan creando un vórtice doble dentro del cuerpo del mismo, así
el gas que entra es forzado a bajar por el cuerpo del ciclón con
movimiento circular mientras que, en el fondo del ciclón, la
dirección del gas se invierte y sube en espirales por el centro del tubo
y sale por la tapa del ciclón.
La base de su
funcionamiento es que la fuerza centrífuga aspira y arrastra las
partículas hasta el fondo del ciclón. No es necesario
ningún pretratamiento para los ciclones.
Las partículas en la corriente del gas son forzadas hacia
la pared del ciclón por la fuerza centrífuga del gas en
rotación, pero se les opone la fuerza de arrastre del gas que pasa por
el ciclón hacia la salida.
Con las partículas más grandes la inercia vence a la
fuerza de arrastre, haciendo que las partículas alcancen la pared del
ciclón y sean colectadas. Con las partículas más
pequeñas, la fuerza de arrastre es mayor que la inercia, ocasionando que
las partículas salgan del ciclón junto con el gas. La gravedad
también hace que las partículas más grandes que llegan a
la pared del ciclón bajen hacia la tolva, donde se recogen.
La caída de presión es un parámetro
importante, ya que tiene relación con los costos de operación y
la eficiencia de control. Para un ciclón determinado, se pueden obtener
mayores eficiencias de control con velocidades de entrada más altas,
pero esto también incrementa la caída de presión. En
general, 18-20 metros por segundo es considerada la mejor velocidad de
operación. Los rangos comunes de caídas de presión para
los ciclones son de 50 - 100 mm C. A. para unidades de baja eficiencia (alta
capacidad); de 100 – 150 para unidades de mediana eficiencia
(convencionales); y 200 - 250 mm C. A. para unidades de alta.
Cuando se desean alta eficiencia (lo que requiere diámetros
pequeños del ciclón) y alta capacidad al mismo tiempo, se puede
operar varios ciclones en paralelo. En un ciclón de tubos
múltiples, la coraza contiene un gran número de tubos con entrada
y salida comunes de gas en la cámara. El gas entra a los tubos a
través de aspas axiales que le imparten un movimiento circular. Otra
unidad de alta eficiencia, el separador ciclónico húmedo, utiliza
una combinación de fuerza centrífuga y aspersión de agua
para mejorar la eficiencia de control.
Utilizando ciclones múltiples, ya sea en serie o en
paralelo, para tratar un gran volumen de gas, se obtiene eficiencias más
altas, pero a costa de una mayor caída de presión. Mayores
caídas de presión significan mayores consumos de energía y
mayores costos de operación. Deben de analizarse varios diseños
para alcanzar la combinación óptima de eficiencia
colección y caída de presión
Este tipo de tecnología de eliminación de
partículas por fuerzas centrífugas e inerciales, inducidas al
forzar el cambio de dirección del gas cargado de partículas es
una parte del grupo de controles de la contaminación del aire a que a
menudo se utilizan para reducir la carga a los dispositivos finales de captura,
al eliminar las partículas abrasivas de mayor tamaño. Los
ciclones también se les conocen como ciclones colectores, ciclones
separadores, separadores centrífugos y separadores inerciales.
Los ciclones se usan para controlar las partículas,
principalmente las de diámetro aerodinámico mayor de 10 micras
(µ). Hay, sin embargo, ciclones de alta eficiencia, diseñados para
ser efectivos con partículas de diámetro aerodinámico
menor o igual a 10 µ y menor o igual a 2.5 µ. Aunque pueden usarse
los ciclones para recolectar partículas mayores de 200 µ las
cámaras de asentamiento por gravedad o los simples separadores por
impulso, son normalmente satisfactorios y menos expuestos a la abrasión.
Los ciclones
se utilizan en muchas aplicaciones. Generalmente, los ciclones por si solos no
son adecuados para cumplir con las reglamentaciones más estrictas en
materia de contaminación del aire, pero tienen un propósito
importante como pre limpiadores antes del equipo de control final, más
caro, tal como los separadores electrostáticos o los filtros de tela.
Además del uso en tareas de control de la contaminación, los
ciclones se utilizan en muchas aplicaciones de proceso, como, por ejemplo, para
la recuperación y reciclado de productos alimenticios y materiales de
proceso tales como los catalizadores.
Los ciclones
se utilizan ampliamente después de operaciones de secado en las
industrias química y de alimentos y después de las operaciones de
trituración, molienda y calcinación en las industrias
química y de minerales para recolectar material útil o
vendible. En la industria de
metales ferrosos y no ferrosos, los ciclones se utilizan con frecuencia como
primera etapa en el control de las emisiones de MS. La MS preveniente de procesos de
desintegración fluida, es removida por ciclones.
La eficiencia de colección de los ciclones varía en
función del tamaño de la partícula y del diseño del
ciclón.
La eficiencia de ciclones generalmente, aumenta con
·
El tamaño de partícula
y/o la densidad.
·
La velocidad en el conducto de entrada.
·
La longitud del cuerpo del
ciclón.
·
El número de revoluciones del
gas en el ciclón.
·
La proporción del
diámetro del cuerpo del ciclón al diámetro del conducto de
salida del gas.
·
La carga de polvo y, el pulimento de la
superficie de la pared interior del ciclón.
La eficiencia del ciclón disminuirá con los aumentos
en
·
La viscosidad del gas.
·
El diámetro del cuerpo.
·
El diámetro de la salida del
gas.
·
El área del conducto de entrada
del gas.
·
La densidad del gas.
Un factor común que contribuye a la disminución de
eficiencias de control en los ciclones es el escape de aire en el conducto de
salida del polvo.
Los márgenes de la eficiencia de control para los ciclones
individuales, están con frecuencia basados en tres clasificaciones de
ciclones, es decir, convencional, alta eficiencia y alta capacidad. El rango de
eficiencia de control de los ciclones individuales convencionales se estima que
es de 70 a 90 por ciento para partículas; de 30 a 90 µ 50 por
ciento para partículas de 10 µ y de 0 a 40 por ciento para
partículas de 2.5 µ.
Los ciclones individuales de alta eficiencia están
diseñados para alcanzar mayor control de las partículas
pequeñas que los ciclones convencionales. Los ciclones individuales de
alta eficiencia pueden remover partículas de 5 µ con eficiencias
hasta del 90 por ciento, pudiendo alcanzar mayores eficiencias con
partículas más grandes. Los rangos de eficiencia de control de
los ciclones individuales de alta eficiencia son de 80 a 99 por ciento para
partículas de 30 a 90 µ; de 60 a 95 por ciento para partículas
de 10 µ y de 20 a 70 por ciento para partículas 2.5 µ.
Los ciclones de alta eficiencia tienen mayores caídas de
presión, lo cual requiere de mayores costos de energía para mover
el gas sucio a través del ciclón. Por lo general, el
diseño del ciclón está determinado por una
limitación especificada de caída de presión, en lugar de
cumplir con alguna eficiencia de control especificada.
Los ciclones están garantizados para eliminar
partículas mayores de 20 µ, aunque en cierto grado ocurra la
colección de partículas más pequeñas. Los rangos de
eficiencia de control de los ciclones de alta capacidad son de 80 a 99 por
ciento para partículas de 30 a 90 µ; de 10 a 40 por ciento para
partículas de 10 µ y de 0 a 10 por ciento para partículas
de 2.5 µ.
CARACTERÍSTICAS DE LA CORRIENTE DE EMISIÓN:
·
Flujo de aire: Las velocidades
típicas del flujo de gas para unidades de un solo ciclón son de
0.5 a 12 Nm3/s. Los flujos en la parte alta de este rango y mayores
(hasta aproximadamente 50 Nm3/s), utilizan ciclones múltiples
en paralelo. Hay unidades de un solo ciclón que se emplean en
aplicaciones especializadas, las cuales tienen flujos desde 0.0005 hasta 30 Nm3/s
aproximadamente.
·
Temperatura: Las temperaturas del gas
de entrada, están limitadas únicamente por los materiales de
construcción de los ciclones y han sido operados a temperaturas tan
altas como 540°C
·
Carga de Contaminantes: Las cargas
típicas de contaminantes en el gas van de 2.3 a 230 gramos por metro
cúbico a condiciones estándares (g/m3). En
aplicaciones especializadas, estas cargas pueden ser tan altas como 16,000 g/m3
y tan bajas como 1 g/m3.
Los ciclones trabajan más eficientemente con cargas de
contaminantes más altas, siempre y cuando no se obstruyan. Generalmente,
las cargas más altas de contaminantes se asocian a diseños para
flujos más altos. Ningún pre tratamiento es necesario para los
ciclones.
Las ventajas de los ciclones incluyen las siguientes.
·
Bajos costos de capital.
·
Falta de partes móviles, por lo
tanto, pocos requerimientos de mantenimiento y bajos costos de operación.
·
Caída de presión
relativamente baja (50 – 300 mm de columna de agua), comparada con la
cantidad de removida.
·
Las limitaciones de temperatura y
presión dependen únicamente de los materiales de
construcción.
·
Colección y disposición
en seco.
·
Requisitos espaciales relativamente
pequeños.
Las desventajas de los ciclones incluyen las siguientes.
·
Eficiencias de colección
partículas de relativamente bajas para tamaño menor a 10 µ.
·
No pueden manejar materiales pegajosos
o aglomerantes.
·
Las unidades de alta eficiencia pueden
tener altas caídas de presión.
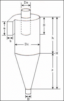
De forma estándar fabricamos los
siguientes equipos:
|
MODELO |
CAPACIDAD m3/h |
ALTO TOTAL H |
DIMENSIONES ENTRADA en mm |
DIÁMETROS |
PRECIO € |
|
VDA-500 |
250 - 500 |
92 |
110 x 60 |
23 x 11 x 6 |
1.400 |
|
VDA-1000 |
500 - 1.000 |
130 |
160 x 80 |
32 x 13 x 8 |
2.175 |
|
VDA-2000 |
1.000 - 2.000 |
180 |
230 x 110 |
40 x 23 x 11 |
2.844 |
|
VDA-3000 |
2.000 - 3.000 |
225 |
280 x 140 |
56 x 28 x 14 |
3.800 |
|
VDA-5000 |
3.000 - 5.000 |
288 |
360 x 180 |
72 x 36 x 18 |
6.575 |
|
VDA-10000 |
5.000 - 10.000 |
410 |
510 x 260 |
103 x 51 x 26 |
9.563 |
Diámetros = Dc
x Ds x B en cm

| - ANTORCHAS
- | - VERTEDEROS - | - AGUAS RESIDUALES
- | INCINERACIÓN
- | - TRATAMIENTO DE FANGOS - |
| - BIOGÁS
- | - TRATAMIENTO DE AIRE, HUMOS Y GASES - | - SECADEROS - | - RECUPERACIÓN
DE RESIDUOS - |
TODOS
LOS PRODUCTOS Y SERVICIOS SON FRUTO DE
NUESTRA EXPERIENCIA Y TECNOLOGÍA. CONSÚLTENOS SUS NECESIDADES.